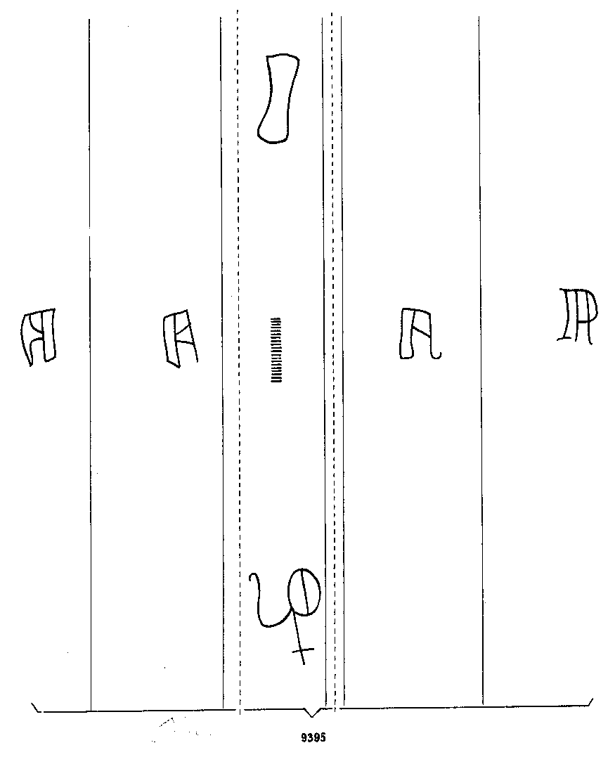
Briquet 9395 — Bologna 1314
Breite 209  Höhe 221  
Blattgröße (in mm): 320x480
Depository: Bologna, A. di Stato, Podestà

Motiv: Buchstaben des Alphabets, Buchstabengruppen mit einem F beginnend
  Briquet 9395 in PDF
  Briquet, Les Filigranes, vol. 3, p. 496
  Gruppe: 1314/1318 (2)
1314Bolognafil. reproduit
1318Bolognafil. reproduit

Link: //memoryofpaper.eu/briquet/?refnr=9395

Addenda & corrigenda: Stevenson, p. 74 (pdf)
Notice sur la vie et les travaux de Charles-Moïse BRIQUET
       Briquet 9395       
875 x 1077 Pixel, 100 dpi  =  222 x 274 mm